導軌滑塊配件
- 產品介紹
- 技術參數
- 產品圖片
力士樂前置潤滑單元運行5000公里行程無需補充潤滑,給安裝和運行帶來的優點:
—滑塊僅需初始潤滑
—滑塊兩端均設置前置潤滑單元
—潤滑劑損失*小
—潤滑油消耗量降低
—無需潤滑管路
—*高工作溫度60℃
—可以用潤滑嘴從端面或側面給謙展潤滑單元補充潤滑劑
—規格25:在前置潤滑單元端面上的潤滑接口適用于滑塊的脂潤滑。

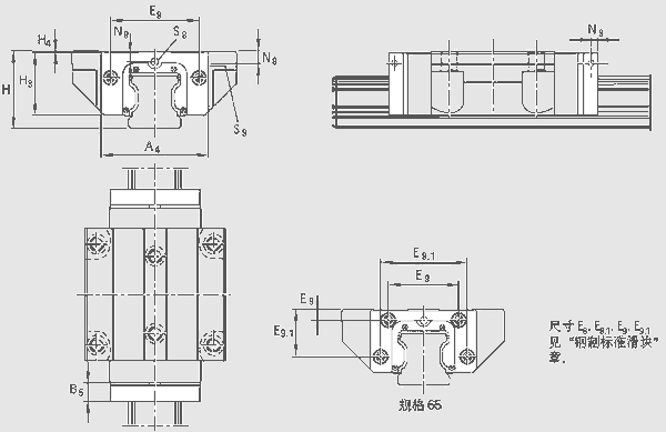
| A4 | 44.0 | |
| B5 | 13.0 | |
| B6 | 15.5 | |
| E8 | 33.4 | |
| E91) | 8.40 | 12.402) |
| H1) | 36 | 402) |
| H3 | 29.2 | |
| H41) | 0.50 | 4.502) |
| N81) | 5.00 | 9.002) |
| S8 | M6 | |
| 油 cm3 | 2.6 | |
| 重量 g | 24 |
1)尺寸以滑塊的安裝面為基準
2)高滑塊的尺寸








